Vocabulary

We will introduce some basic concepts with which we will operate within USOS API. The sentences below might sound a bit foolish, but we believe reading them will be helpful in order for you understand the relationships between various USOS entities.

Basics

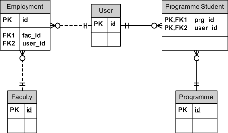
  • User - a person which has an USOS account. Some of users are students, some are staff members, some are both (diagram).
  • Student - a user who enrolled in at least one programme. He is then a student at the faculty which runs this programme (diagram).
  • Active student - a user who enrolled in at least one programme whose status is active or graduated_before_diploma at the moment. You can see a definition of these statuses at the description of services/progs/student_programme method.
  • Staff member - a user who has been employed by one of the faculties ("faculty" entities include departments, divisions and other institutions - see below).
  • Inactive staff member - a user who is a staff member and has only inactive job positions (or he has not at all) and he is not a supernumerary (a temporary employee).
  • Active staff member - a user who is not inactive staff member.
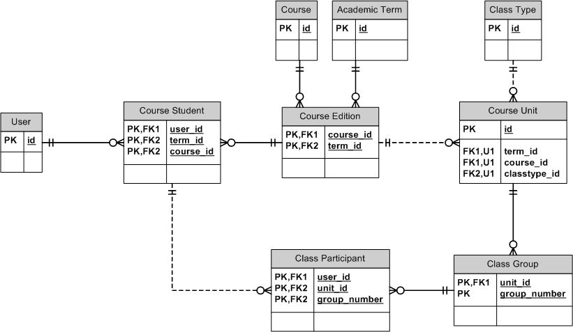
  • Academic term - division of an academic year, the time university holds classes (a year, a semester etc.).
  • Faculty - represents a division (or subdivision, or subsubdivision...) within a university. In our USOS-vocabulary, a faculty entity does not necessarily depict an actual faculty, it can be any other kind of division within the university. In fact, the whole university in also a faculty entity - at the root of the faculty tree.

    Faculties run study programmes. Programmes are run by faculties. Also, faculties organize courses. Often, one faculty organizes courses which are among the requirements of study programmes run by other faculties (diagram).

Degree programmes

  • Programme - a study programme, run by individual faculties. Students may enrol in a programme, then they become students of this programme.

    There are numerous courses a student has to pass in order to pass the current stage of study (and be promoted to the next one).

  • Programme stage - division of a programme, a stage of study. Usually each stage has a length of one year (so there's a first year of a programme, a second year of a programme and so forth).

    Students pass a stage (as in "I passed the first year") in order to advance to the next stage. Each stage has its requirements (a set of courses students have to pass), students have to fulfil these requirements in order to be promoted (or conditionally promoted). If they don't, they fail the stage and have to retake it (otherwise their studies are discontinued).

Courses and classes

  • Course and Course editions - series of classes conducted within one academic term.

    Students register for a course edition. They may pass, or they may fail this course. If they fail, they can retake this course (by registering to the next edition of this course).

    Each course has its coordinators.

    Course edition is divided into course units.

  • Course unit - division of a course edition. Each course unit has its class type (lecture, discussion, tutorial etc.) and its class groups. Apart from classes, there might be some additional activity related to the course unit, like exams.

  • Class group - primary type of course activity. Each class group consists of a series of activities. Each class has its course unit (identifying its course edition and class type) and a group number.

  • Activity - an abstract term, that has no single database equivalent. Activity is single event, a meeting which has its date and time scheduled.

Theses

  • Thesis has its authors and supervisors. It also has a type (doctoral thesis, master thesis, etc.). Each thesis is bound to exactly one faculty - we say that it has been submitted to this faculty. (However, one faculty may have many theses which have been submitted to this faculty).

Polish-English Entity Dictionary

Ta sekcja jest celowo w języku polskim i jest przeznaczona przede wszystkim dla programistów USOS, którzy chcą tworzyć nowe moduły w USOS API. Uznajemy, że wszystkie wpisane poniżej tłumaczenia są "zafiksowane", tzn. jeśli dana tabela lub kolumna została tutaj przetłumaczona, to wszystkie moduły USOS API muszą się tego tłumaczenia trzymać (w ostateczności, jeśli tłumaczenie zmieniamy, to robimy to zbiorowo, oraz w sposób kompatybilny wstecz). Ma to na celu uniknięcie sytuacji, w której jeden moduł używa nazewnictwa niezgodnego z drugim.

Tabele:

  • DZ_AKADEMIKI - Dormitories (housing module)
  • DZ_AKAD_PODANIA - Applications lub Assignments, w zależności od wartości kolumny "decyzja" (moduł housing)
  • DZ_AKAD_POKOJE - Dormitory Rooms, dormrooms (moduł housing)
  • DZ_AKAD_ZAMELDOWANIA - Residences (housing module)
  • DZ_CERT_OSOB (dyplomy/certyfikaty osób, pośrednio autorzy prac nie-doktorskich) - Thesis Authors (razem z DZ_DOKTORANCI)
  • DZ_CYKLE_DYDAKTYCZNE (cykle dydaktyczne) - Academic Terms
  • DZ_DOKTORANCI (doktoranci, autorzy prac doktorskich) - Thesis Authors (razem z DZ_CERT_OSOB)
  • DZ_EGZAMINY (egzaminy) - Exams
  • DZ_ETAPY_PROGRAMOW (etapy programów) - Programme Stages
  • DZ_GRUPY (grupy zajęciowe) - Class Groups
  • DZ_GRUPY_EGZAMINACYJNE (grupy egzaminacyjne) - Exam Groups
  • DZ_GRUPY_MIESZKANCOW - Resident Types (housing module)
  • DZ_JED_ORG_PROGRAMOW (jednostki programów, programy jednostek) - Faculty Programmes
  • DZ_JEDNOSTKI_ORGANIZACYJNE (jednostki ogranizacyjne) - Faculties
  • DZ_OPIEKUNOWIE_NAUKOWI (promotorzy prac)- Thesis Supervisors (razem z DZ_OPIEKUNOWIE_PRAC)
  • DZ_OPIEKUNOWIE_PRAC - Thesis Supervisors (razem z DZ_OPIEKUNOWIE_NAUKOWI)
  • DZ_OSOBY (osoby, użytkownicy) - Users
  • DZ_OSOBY_GRUP (osoby grup, studenci w grupach zajęciowych) - Class Participants
  • DZ_PRAC_ZATR (zatrudnienia pracowników) - Employments
  • DZ_PRACE_CERT (prace doktorskie, magisterskie, licencjackie itp.) - Theses
  • DZ_PRACE_CERT_OSOB (autorzy prac nie-doktorskich) - Thesis Authors (razem z DZ_DOKTORANCI)
  • DZ_PRACOWNICY (pracownicy) - brak odpowiednika, należy posługiwać się tylko os_idami! (Users, user_id)
  • DZ_PROGRAMY (programy studiów) - Programmes
  • DZ_PROGRAMY_OSOB (programy osób, osoby programów) - Programme Students
  • DZ_PROTOKOLY (protokoły) - Sets of Exam Reports
  • DZ_PROWADZACY_EGZAMINY (prowadzący egzaminy, egzaminatorzy) - Examiners
  • DZ_PRZEDMIOTY (przedmioty) - Courses
  • DZ_PRZEDMIOTY_CYKLI (przedmioty cykli) - Course Editions
  • DZ_PRZEDMIOTY_WYMAG (przedmioty wymagane, przedmioty obowiązkowe) - Stage Course Requirements
  • DZ_ROZDZIELANIA - Allocation Periods (moduł housing)
  • DZ_SALE (sale, pokoje) - Rooms
  • DZ_SESJE_EGZAMINACYJNE (sesje egzaminacyjne, rejestracje na egzaminy) - Registrations for Exams
  • DZ_TERMINY (termin zajęć) - Weekly Meeting Options
  • DZ_TERMINY_GRUP (terminy grup) - Class Group Weekly Meetings
  • DZ_TERMINY_GRUP_SPTK (pojedyncze spotkania terminów grup) - Single Meetings
  • DZ_TERMINY_PROTOKOLOW (terminy protokołów, kolumny na protokole przedmiotu) - Exam Reports
  • DZ_TYPY_MIEJ (typy miejsc, rodzaje pokoi w akademikach) - Dormitory Room Types (dormroom_type, moduł housing)
  • DZ_TYPY_ZAJEC (typy zajęć) - Class Types
  • DZ_ZAJECIA_CYKLI (zajęcia cykli) - Course Units
  • DZ_ZALICZENIA_PRZEDMIOTOW (zaliczenia przedmiotów, studenci przedmiotu) - Course Students
  • DZ_ZAPISY_NA_EGZAMINY (zapisy na egzaminy, osoby egzaminów, studenci zapisani na egzamin) - Exam Attendees

Kolumny:

  • os_id - user_id
  • cdyd_kod - term_id
  • egz_id - exam_id
  • etp_kod - stage_id
  • grp_egz_id - exgrp_id
  • jed_org_kod, jo_kod - fac_id
  • prg_kod - programme_id
  • prot_id - examrep_id
  • prz_kod - course_id
  • ses_egz_kod - examsession_id
  • sl_id - room_id
  • term_prot_nr - exam_session_number
  • tzaj_id - classtype_id
  • zaj_cyk_id - unit_id
  • akad_pok_id - dormroom_id
  • akad_id, akademik_id, akademiki_id - dormitory_id
  • rozdzielania_kod, rozdzielanie_kod - allocation_period_id
  • typ_miej_kod - dormroom_type_id
  • gr_mieszk_kod - resident_type_id
  • akad_pod_guid - assignment_id (o ile podanie jest zatwierdzone)
USOS API ver. 7.2.0.0-7, 76274478 (2025-11-24)